查看: 6199

利用页游助手做试玩平台日赚100+ 真实可放大

[复制链接]
演*** 发表于 2017-9-17 12:30 | 显示全部楼层 |阅读模式
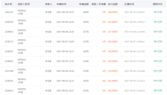
说起试玩平台已经是老项目了,是可以赚到钱的,不过他就像搬砖,做起来比较累比较吃力,算是辛苦钱。

所以说需要一些方法来操作.下面我分享一下我的方法。https://pan.baidu.com/s/1c1X8u8C



20170917122927.png
温馨提示:
1、本内容内由作者投稿,版权归原作者所有!
2、本站仅提供信息存储空间服务,不拥有所有权,不承担相关法律责任。
3、本内容若侵犯到你的版权利益,请联系我们,会尽快给予删除处理!
yanl*** 发表于 2017-9-17 12:31 | 显示全部楼层
此帖仅作者可见
头像被屏蔽
qie*** 发表于 2017-9-17 12:31 | 显示全部楼层
提示: 作者被禁止或删除 内容自动屏蔽
liec*** 发表于 2017-9-17 12:32 | 显示全部楼层
此帖仅作者可见
头像被屏蔽
wwi*** 发表于 2017-9-17 12:46 | 显示全部楼层
提示: 作者被禁止或删除 内容自动屏蔽
mon*** 发表于 2017-9-17 13:55 | 显示全部楼层
此帖仅作者可见
头像被屏蔽
sh*** 发表于 2017-9-17 14:37 | 显示全部楼层
提示: 作者被禁止或删除 内容自动屏蔽
nbh*** 发表于 2017-9-17 22:43 | 显示全部楼层
此帖仅作者可见
爱*** 发表于 2017-9-18 00:49 | 显示全部楼层
此帖仅作者可见
zhang*** 发表于 2017-9-18 14:33 | 显示全部楼层
此帖仅作者可见
客服QQ/微信
78330873 周一至周日:09:00 - 22:00
十五年老品牌,学习网上创业赚钱,首先云服发,值得信赖!
众创网络 版权所有!

本站内容均转载于互联网,并不代表云服发立场!
拒绝任何人以任何形式在本站发表与中华人民共和国法律相抵触的言论!

信息产业部备案号 桂ICP备16009930号-9号

QQ|小黑屋|加入vip|手机版| 云服发

GMT+8, 2026-4-11 13:41 , Processed in 0.187464 second(s), 41 queries , Gzip On.

快速回复 返回顶部 返回列表